
在今年的春晚舞台上,“含机器人量”十足,为网友热议。
在知名演员蔡明参与的小品《奶奶的最爱》中,人形机器人进行了春晚首次魔术秀——双手抱着透明箱子一秒“马上有钱”。
抱着透明箱子精确完成魔术动作的手,即来自一家国产机器人公司——这也是在春晚节目中首次有中国自研机器人灵巧手展现。
近日,这家国产机器人灵巧手公司官宣完成数亿元的融资,并已完成微型化电机、传感器等灵巧手核心零部件的自研自产。

这家灵巧手公司就是因时机器人,据官方信息显示,近日因时机器人完成了金额达数亿元的融资。
该融资事件由C1、C2两轮次融资组成,C1轮由中国移动链长基金与深创投联合领投,博原资本、达晨财智、春华资本跟投;C2轮由北京市人工智能产业投资基金领投,启明创投、博原资本、春华资本、金石数经基金、TCL创投跟投。
因时机器人称,本次融资将加速公司灵巧操作技术研发与核心零部件产品创新;进一步巩固行业领先地位,持续提升产品交付能力;积极拓展全球化市场布局,推动商业化落地进程。
博原资本在C1&C2轮连续两轮投资因时机器人,其表示:“ 我们高度认可因时机器人在机器人灵巧手领域展现出的深厚技术积累与持续创新能力。博原资本将持续以“产业+资本”双轮驱动模式,助力因时机器人在精密传动、传感集成等核心技术上深化创新,共同推动灵巧手技术与产业生态的协同发展,赋能机器人实现更广泛、更智能的应用突破。”
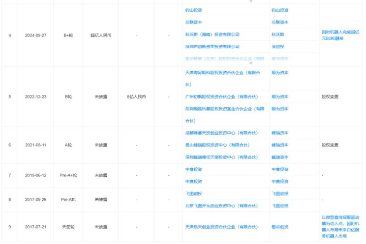
目前,包括天使轮在内,因时机器人已完成9轮次融资,背后投资机构包括:磐谷创投、飞图创投、中赛投资、峰瑞资本、顺为资本、科沃斯、芯联资本、钧山投资、华盖资本、铭哲资产、源禾资本、中金资本、成都科创投、达晨财智、神骐资本等。

可以看到,小米旗下顺为资本、国产清洁机器人龙头企业科沃斯、国产MEMS & 功率芯片代工龙头芯联集成旗下芯联资本等众多产业上下游巨头参与投资因时机器人。

灵巧手年出货量超10000台,中国第一!触觉等多项传感器技术自研
精密控制与精确感知,被认为是实现灵巧手的技术关键。
因时机器人的看家本领,是微型伺服电缸技术——这是一项集精密传动与传感于一体的机器人灵巧手核心技术。
具体应用上,微型伺服电缸装在机器人灵巧手上,用于精确控制每根手指的运动。每个微型伺服电缸直径仅十几毫米,由丝杆、位置传感器、减速箱、伺服驱动器、马达、力传感器等核心零部件组成——其技术难度犹如将“大象”塞进“火柴盒”中。
为此,自2016年成立以来,因时机器人以微型伺服电缸技术为核心,已完成了灵巧手软硬件全栈技术积累,包括微型化电机、行星滚柱丝杠、减速器、传感器等核心上游零部件均实现了自研自产,是国内少有的具备灵巧手全栈技术能力的企业。


官网显示,目前因时机器人拥有微型伺服电缸及灵巧手两大产品线,拥有数十款产品,其微型伺服电缸的年产能达到十万台,横跨多种应用场景,尤其在机器人行业、精密制造业、生物医疗(医美)器械及教育科研领域,具有极高的应用价值。
因时机器人的客户包括宇树、智元、银河通用等众多中国人形机器人企业,以及多家海外知名机器人公司。

据因时机器人官方披露,2025年,因时机器人灵巧手全年交付量超10000台,市占率遥遥领先——国内灵巧手出货量第一,是国产灵巧手领先企业。

值得一提的是,在2025年7月的WAIC世界人工智能大会上,因时机器人发布最新灵巧手产品——第五代产品RH56F1系列仿人五指灵巧手。
RH56F1系列灵巧手在结构设计、感知系统、稳定操控与安全防护等多个维度实现全面升级,是市场上技术领先的灵巧手产品之一。
在灵巧手感知技术方面,RH56F1系列灵巧手搭载了因时机器人多项自研传感器技术,集成触觉、力、位置和温度四大类共24组高性能传感器:
指尖与掌面触觉模块支持灵敏接触与接近觉感知,实现柔性抓取;力传感器实时监测负载状态,保障抓取稳定性;绝对式位置传感器确保精准执行,掉电上电均无需归零操作;温度传感器持续监控,预警机制保障灵巧手安全运行。RH56F1系列灵巧手在精密操控能力与抓取自适应性能方面尤为出色,有效满足工业自动化与人形机器人等复杂应用需求。


北京科技大学校友联合创业,获国家重点研发计划支持
目前,因时机器人最大股东和实控人为公司创始人&CEO蔡颖鹏,其直接持有公司17.3702%股权。
另一位联合创始人陈希持有3.7638%股权,为公司第二大股东。
蔡颖鹏与陈希均毕业于北京科技大学。

蔡颖鹏本科毕业于北京科技大学电子信息工程专业,硕士毕业于北京航空航天大学机械工程专业,拥有十余年机器人技术领域的研究实践经验。
在大学时期,蔡颖鹏曾作为队长,带队参与Robocon等机器人大赛,并创办机器人工作室,由此对机器人技术产生兴趣。
早在创立因时机器人之前的2012年,蔡颖鹏在北京成立了机器人ODM公司——北京英诗派机器人科技有限公司,开发电力巡检、教育、服务等特种机器人。
作为机器人ODM企业,蔡颖鹏团队需要向市场采购大量的机器人零部件,而当时国内外机器人核心零部件稀少,且性能、体积等硬性指标难以满足高端机器人的需求。
蔡颖鹏敏锐地察觉到机器人核心零部件赛道的空白,于是在2016年,国内第一波机器人浪潮中,成立因时机器人,并明确"为泛机器人行业打造微型化、一体化、柔性化的核心零部件"为公司的战略发展方向,正式从机器人ODM整机赛道进入机器人核心零部件领域。

▲因时机器人创始人蔡颖鹏
另一位创始人陈希,亦毕业于北京科技大学,拥有丰富的精密机械系统设计与项目管理经验,曾设计并管理了18个导管架遥控下水系统,其中包括当时亚洲最大的荔湾项目导管架。
此外,因时机器人核心研发团队来自于北京航空航天大学机器人研究所等顶尖机构。
技术实力方面,因时机器人已获得“国家级专精特新小巨人”、“国家高新技术”等多项荣誉,并参与国家重点研发计划2项,工信部揭榜挂帅2项,北京市揭榜挂帅1项及其他若干创新型项目。
其中一项国家重点研发计划是智能机器人专项“面向服务和工业领域的实用多指灵巧手研制”项目,该项目是由北京市科学技术委员会推荐,科学技术部高技术研究发展中心管理的国家级重大共性关键技术项目,参与机构包括 4 所“双一流”高校、5 家高新技术企业——因时机器人正是其中之一。
因时机器人承担其中的“刚性多指灵巧手研制”课题,成功研发出灵巧手核心零部件一体化驱控模块(即微型伺服电缸),应用于项目所有灵巧手中。

结语
精确感知和精确控制,是灵巧手的实现关键,这依赖于传感器、丝杆等众多核心零部件。
随着人形机器人产业的兴起,触觉传感器、六维力传感器等机器人核心传感器,获得广泛的投资机会。
然而,人形机器人中,需要应用到的传感器部件,远比普通人看到的要多的多,譬如因时机器人的微型伺服电缸部件中,就已集成位置传感器、力传感器等多种自研传感器。
人形机器人,将带动国产传感器等高端零部件的发展!
在线股票配资分红,北京网上炒股配资网,上海配资炒股提示:文章来自网络,不代表本站观点。